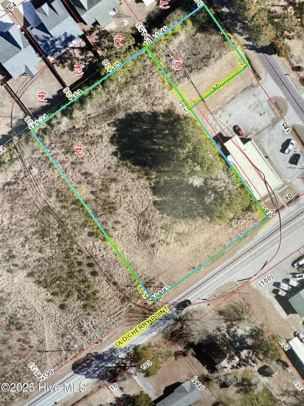
Community Listings, $100,000 - $200,000